Heavy Duty Drawbar Eye TDE 50 mm Pin and Mounting Bush
30 Day Returns on all orders
You have 30 days to request a return. 3 Years Limited Warranty
Please Contact us for Wholesale Prices
Product Details: Specially designed for heavy duty military and construction applications.
| Product Sku: | TDE 50 |
|---|---|
| Vertical Capacity: | 11,000 lbs |
| Drawbar Capacity: | 43,000 lbs |
| D Value: | 190 kn |
| Weight: | 80 lbs |
| Material: | Forged Steel |
| Factory Limited Warranty: | 2 Years |
Click Here to see the Repair Kits and Spare Parts for this products.
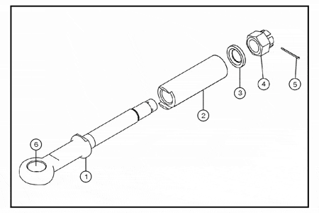
Technical Drawings:

Part List:

Shipping information
We ship orders daily or next business day from our Santa Ana, CA or Atlanta, GA warehouses depending on the customer location and availability.
Returns & warranty
We offer 30 days to return for refund and 3 years limited warrany.